• 2 Мп цилиндрическая IP-камера с фиксированным объективом серии ColorVu Lite
• Высокое качество изображения с разрешением 2 Мп
• Отличные рабочие характеристики при слабом освещении
• Технология эффективного сжатия H.265+
• Защита от влаги и пыли: IP67
• Цветное изображение в любое время суток
Технология ColorVu обеспечивает яркие красочные изображения 24/7 с помощью усовершенствованных объективов с апертурой F1.0,
высокопроизводительных матриц и вспомогательной подсветки.
Апертура F1.0 позволяет собирать больше света для получения более ярких изображений. Объектив камер может фокусировать на матрицу в 4 раза больше света чем обычные камеры, и это дает возможность делать изображение намного ярче.
При нулевой освещенности встроенная теплая дополнительная подсветка обеспечивает красочные изображения.

Главная особенность камер с применением этой технологии в том, что при минимальном освещении, или при его полном отсутствии, формируется цветное изображение. Этим камеры отличаются от большинства других моделей, которые в темноте формируют черно-белое изображение с помощью ИК-подсветки. В камерах ColorVu вместо ИК-подсветки используется мягкая и неослепляющая LED-подсветка, которая и формирует цветное изображение. Исходные цвета объектов не искажаются. В камерах работает автоматически настраивающийся алгоритм трехмерного шумоподавления, за работу которого отвечает независимый процессор ISP.

Технические характеристики:
Камера
• Матрица: 1/2.8 Progressive scan CMOS
• Чувствительность: Цвет: 0.001 лк @ (F1.0, AGC вкл)
• Скорость электронного затвора: 1/3 с ~ 1/100 000 с
• Поддержка медленного затвора: Есть
• Объектив: 2.8 мм, 4 мм
• Апертура: F1.0, Фиксированная
• Глубина фокуса: 2.8 мм: от 1.7 и до ∞. 4 мм: от 2.1 м до ∞
• Крепление объектива: М12
• Угол обзора:
- 2.8 мм, по горизонтали: 107°, по вертикали: 56°, по диагонали: 127°
- 4 мм, по горизонтали: 84°, по вертикали: 45°, по диагонали: 99°
• Режим «День/ночь»: Механический ИК-фильтр
• Регулировка угла установки: Поворот: от 0 до 360°, наклон: от 0 до 180°, вращение: от 0 до 360°
Подсветка
• Дополнительная интеллектуальная подсветка: Есть
• Подсветка: Белый
• Дальность подсветки белым светом: До 30 м
Видео
• Основной поток:
- 50 Гц: 25 к/с (1920 × 1080, 1280 × 960, 1280 × 720)
- 60 Гц: 30 к/с (1920 × 1080, 1280 × 960, 1280 × 720)
• Дополнительный поток:
- 50 Гц: 25 к/с (640 × 480, 640 × 360, 320 × 240)
- 60 Гц: 30 к/с (640 × 480, 640 × 360, 320 × 240)
• Битрейт видео: От 32 Кбит/с до 8 Мбит/с
• Формат видеосжатия:
- Основной поток: H.265+/H.265/H.264+/H.264
- Дополнительный поток: H.265/H.264/MJPEG
• Профиль H.264: BaseLine Profile/Main Profile/High Profile
• Профиль H.265: Main Profile
• Битрейт видео: 32 кб/с ~ 8 Мбит/с
• Область интереса (ROI): 1 фиксированная область для основного потока
• Настройки изображения: Режим коридора, насыщенность, яркость, контрастность, резкость, насыщенность и баланс белого настраиваются через клиентское ПО или веб-интерфейс
• Улучшение изображения: BLC, HLC, 3D DNR
• Переключение «День/ночь»: Переключение «День/ночь»
Сеть
• Одновременный просмотр в режиме реального времени: До 6 каналов API ONVIF (PROFILE S, PROFILE G), ISAPI, SDK
• Протоколы: TCP/IP, ICMP, HTTP, FTP, DHCP, DNS, DDNS, RTP, RTSP, RTCP, NTP, UPnP, SMTP, IGMP, QoS, IPv6, UDP, Bonjour, SSL/TLS
• Пользователь/хост: До 32 пользователей. 3 уровня пользователей: Администратор, Оператор и Пользователь
• Безопасность: Защита паролем, сложный пароль, шифрование HTTPS, фильтрация IP-адресов, журнал проверки безопасности, базовая и дайджест-аутентификация для HTTP/HTTPS, TLS 1.2, WSSE и дайджест-аутентификация для ONVIF
• Клиент: iVMS-4200, Hik-Connect
• Веб-интерфейс: Требуется плагин для просмотра в режиме реального времени: IE8, IE9, IE10, IE11 Локальные службы: Chrome 57.0+, Firefox 52.0+
Интерфейс
• Сетевой интерфейс: 1 RJ45 auto 10/100M порт Ethernet
Основное
• Метод привязки: Загрузка на FTP/NAS, уведомление центра мониторинга, отправка email, запись по тревоге, захват изображения
*Примечание: требуется внешнее устройство.
• Язык веб-клиента: Английский
• Основные функции: Anti-Flicker, Heartbeat, зеркалирование, маскирование области, изменение пароля по e-mail, подсчет пикселей
• Программный сброс: Перезагрузка при помощи веб-интерфейса и клиентского ПО
• Условия хранения: От -40 до +60 °C. Влажность 95 % или меньше (без конденсата)
• Рабочие условия: От -40 до +60 °C. Влажность 95 % или меньше (без конденсата)
• Питание: DC 12 В ± 25 %, PoE: 802.3af, тип 1 класс 3, защита от обратной полярности
• Потребляемая мощность:
- DC 12 В, 0.30 А, макс. 3.6 Вт
- PoE: (802.3af, от 36 до 57 В), от 0.20 до 0.10 А, макс. 4.5 Вт
• Интерфейс питания: Коаксиальный разъем питания Ø 5.5 мм
• Материал: Металл
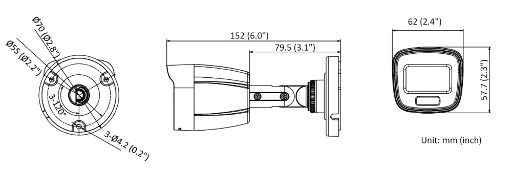
• Размер камеры: 57.7 × 62 × 152 мм (2.3 × 2.4 × 6.0″)
• Размер упаковки: 172 × 104 × 80 мм (6.8 × 4.1 × 3.1″)
• Масса камеры: Приблиз. 310 г
• Масса с упаковкой: Приблиз. 430 г
• Сертификаты:
- Стандарты EMC: FCC (47 CFR часть 15, подраздел B); CE-EMC (EN 55032: 2015, EN 61000-3-2: 2014, EN 61000-3-3: 2013, EN 50130-4: 2011 +A1: 2014); RCM (AS/NZS CISPR 32: 2015); IC (ICES-003: Issue 6, 2016); KC (KN 32: 2015, KN 35: 2015)
- Стандарты по безопасности: UL (UL 60950-1); CB (IEC 60950-1:2005 + Am 1:2009 + Am 2:2013); CE-LVD (EN 60950-1:2005 + Am 1:2009 + Am 2:2013)
- Окружающая среда: CE-RoHS (2011/65/EU); WEEE (2012/19/EU); Reach (Regulation (EC) No 1907/2006)
- Стандарты по защите: Защита от попадания влаги и пыли: IP67 (IEC 60529-2013
Бренд камеры | HiWatch |
Тип камеры | Цилиндрическая |
Вид камеры | IP |
Исполнение | Уличное |
Тип матрицы | CMOS |
Физический размер матрицы | 1/2.8 дюйма |
Объектив | С фиксированным фокусным расстоянием |
Фокусное расстояние | 4 мм |
Угол обзора | 84° |
Максимальный угол обзора, ° | 84 |
Настройка угла обзора камеры | Поворот: 360°; Наклон: 0-180°; Вращение: 0-360° |
Количество мегапикселей | 2 Мп |
Максимальное разрешение, Пиксель | 1920 x 1080 |
Частота кадров при максимальном разрешении | 25 к/с |
Видеопоток | Двойной поток |
Чувствительность | Цвет: 0.001лк@F1.0 |
Минимальная освещенность, Лк | 0.001 |
Выдержка затвора | 1/3 - 1/100 000 сек |
Крепление объектива | M12 |
Диафрагма | Фиксированная |
Апертура | F1.0 |
Управление фокусом | Нет информации |
Управление приближением | Нет информации |
Тип подсветки | С подсветкой, LED |
Дальность подсветки, м | 30 |
Режим День/Ночь | Механический ИК-фильтр с автопереключением |
Карты памяти SD | Без SD карты |
Поддерживаемая видеоаналитика | Детекция движения, Зоны маскирования, Антисаботаж, Коридорный режим |
Детектор движения | Программный |
Стандарт ONVIF | Поддерживается, Profile S, Profile G |
Сетевой интерфейс | Ethernet 10/100M |
Кибербезопасность | HTTPS |
Сетевое хранение | NAS |
Улучшение изображения | D-WDR (цифровой), ColorVu, AGC, BLC, HLC, DNR, ROI |
Видеокодек | H.264, H.264+, H.265, H.265+, MJPEG |
Аудио | Нет |
Встроенный микрофон | Нет |
Встроенный динамик | Нет |
Тревожные входы | Нет |
Тревожные выходы | Нет |
Встроенный нагреватель | Нет |
Напряжение питания | 12 В |
Источник питания | Внешний адаптер (в комплект не входит), PoE |
Потребляемая мощность, макс. | 4.5 Вт |
PoE стандарт | IEEE 802.3af |
Габариты | Ø76х150.1 мм |
Вес, кг | 0.31 |
Рабочая температура | от -40°C до +60°C |
Рабочая влажность | не выше 95% без конденсации |
Класс защиты IP | IP67 |
Соответствие стандартам | CE, FCC, ISAPI, ONVIF |
Цвет | Белый |
Гарантия | 2 года |
Страна производства | Китай |
Функция «Быстрый заказ» позволяет покупателю не проходить всю процедуру оформления заказа самостоятельно. Вы заполняете форму, и через короткое время вам перезвонит менеджер магазина. Он уточнит все условия заказа, ответит на вопросы, касающиеся качества товара, его особенностей. А также подскажет о вариантах оплаты и доставки.
По результатам звонка, пользователь либо, получив уточнения, самостоятельно оформляет заказ, укомплектовав его необходимыми позициями, либо соглашается на оформление в том виде, в котором есть сейчас. Получает подтверждение на почту или на мобильный телефон и ждёт доставки.
Оформление заказа в стандартном режиме
Если вы уверены в выборе, то можете самостоятельно оформить заказ, заполнив по этапам всю форму.
Заполнение адреса
Выберите из списка название вашего региона и населённого пункта. Если вы не нашли свой населённый пункт в списке, выберите значение «Другое местоположение» и впишите название своего населённого пункта в графу «Город». Введите правильный индекс.
Доставка
В зависимости от места жительства вам предложат варианты доставки. Выберите любой удобный способ. Подробнее об условиях доставки читайте в разделе «Доставка».
Оплата
Выберите оптимальный способ оплаты. Подробнее о всех вариантах читайте в разделе «Оплата»
Покупатель
Введите данные о себе: ФИО, адрес доставки, номер телефона. В поле «Комментарии к заказу» введите сведения, которые могут пригодиться курьеру, например: подъезды в доме считаются справа налево.
Оформление заказа
Проверьте правильность ввода информации: позиции заказа, выбор местоположения, данные о покупателе. Нажмите кнопку «Оформить заказ».
Наш сервис запоминает данные о пользователе, информацию о заказе и в следующий раз предложит вам повторить к вводу данные предыдущего заказа. Если условия вам не подходят, выбирайте другие варианты.
Если Вы хотите узнать об условиях доставки и оплаты, но не желаете о них читать, то Вы можете позвонить любому нашему сотруднику, и он обязательно Вам поможет.
Покупка за безналичный расчет
При оплате за безналичный расчет наш сотрудник свяжется с Вами, чтобы подтвердить заказ и уточнить сроки и адрес доставки. После оформления заказа сотрудник нашей компании вышлет вам счет, по которому необходимо будет произвести оплату.
После оплаты заказа к Вам приедет наш курьер, который доставит ваш заказ.
Самостоятельно забрать заказ из пунктов самовывоза Вы можете после его оплаты по безналичному расчету. Оплата доставки до пунктов выдачи транспортных компаний производится по тарифам выбранной Вами транспортной компании непосредственно в месте получения заказа.
Самовывоз из офиса нашей компании в Зеленограде, так же возможен после предоплаты по безналичному расчету, и предварительной договоренности с менеджером.
Интернет-магазин выполняет доставку любого товара своей собственной Службой доставки.
Стоимость доставки курьером
Стоимость доставки по Москве, Все товары —750 руб., бесплатная доставка от 25000 руб
Стоимость доставки по Московской области рассчитывается для каждого заказа индивидуально и зависит от суммарного веса товаров заказа и удаленности адреса доставки.
Время доставки
Время доставки согласовывается с менеджером Службы доставки, который обязательно свяжется с вами сразу после того, как вы разместите свой заказ.
Для осуществления доставки в регионы России мы пользуемся услугами компаний СДЭК, ЖелДорЭкспедиция, Автотрейдинг, Деловые Линии. В таком случае, указанными кампаниями взимается стоимость доставки по их внутренним тарифам с заказчика при получении товара.
Самовывоз
Забрать товар самостоятельно и абсолютно бесплатно можно только по адресу: Москва, Зеленоград, Панфиловский проспект, дом 10.
Забрать товар самовывозом можно по любому из адресов самовывоза указанных здесь, стоимость доставки до пункта самовывоза рассчитывается для каждого заказа по тарифам транспортных компаний.









