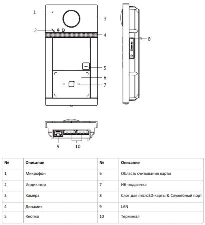
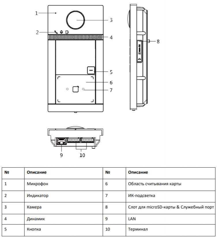
Вызывная панель VDP-D4211W и VDP-D4211W/Flush является вызывной панелью системы видеодомофонии, рассчитанной на 1 абонента.
• PoE
• 2 Мп HD-камера
• Подавление шумов и эффекта эхо
• Работает в условиях слабого освещения
• Функции контроля доступа (Mifare считыватель)
• Датчик контроля вскрытия
• Настройка через веб-интерфейс
• Wi-Fi 2.4 ГГц
• Уровень защиты IK08
• Работа с Hik-Connect
Характеристики вызывной панели:
Системные параметры
• Операционная система: Встроенная ОС Linux
• Управление: Однокнопочная панель
• Флеш-накопитель: 32 МБ
• Оперативная память: 256 МБ
Параметры видео
• Камера: 2 Мп HD-камера
• Ночное видение: ИК-подсветка: 3 м
• BLC: Поддерживается
• DNR: Поддерживается
• WDR: True WDR
• Угол обзора: По горизонтали: 129°; по вертикали: 75°
• Стандарт видеосжатия: H.264
• Поток:
- Основной поток: 1080p @ 30 к/с, 720p @ 25 к/с
- Дополнительный поток: D1 @ 25 к/с
• Разрешение:
- Основной поток: 1920 × 1080p, 720p
- Дополнительный поток: 704 × 576
• Обнаружение движения: Поддерживается
• Anti-Flicker, частота: 50 Гц, 60 Гц
Параметры аудио
• Аудиодомофон: Двусторонняя аудиосвязь
• Аудиовход: Встроенный всенаправленный микрофон
• Аудиовыход: Встроенный динамик
• Стандарт аудиосжатия: G.711 U
• Скорость потока аудио: 64 Кбит/с
• Качество аудио: Подавление шумов и эффекта эхо
Параметры сети
• Проводная сеть: 10/100 Мбит/с Ethernet
• Сетевые протоколы: TCP/IP
• Частота считывания: 13.56 МГц
• Тип карты: Mifare
Интерфейсы
• RS-485: 1
• Wi-Fi: 2.4 ГГц, Wi-Fi
• Служебный порт: 1
• SD-карта: нет
• Кнопка выхода: 1
• Заземление: 1
• Физические кнопки: 1
• Тампер: 1
• Контроллер двери: 1 (реле No/NC)
• Кол-во карт: Макс. 10000
• Кол-во пользователей: Макс. 2000
• Разблокировка двери: Разблокировка с помощью карт, через клиентское программное обеспечение, через приложение или видеодомофон
Основное
• Уровень защиты: IP65, IK08
• Индикатор: 3
• Питание: IEEE802.3 af PoE, DC 12 В
• Потребляемая мощность: < 10 Вт
• Рабочая температура: От -40 до +53 °C
• Рабочая влажность :От 10 до 95 %
• Установка: Врезная установка
• Размеры: 174 × 91 × 29 мм
Сертификаты
• CE-EMC:
a. EN 55032:2015
b. EN 61000-3-2:2014
c. EN 61000-3-3:2013
d. EN 50130-4:2011 +A1:2014
• CE-LVD: EN 60950-1:2006 + A11:2009 + A1:2010 + A12:2011 + A2:2013
• CB: IEC 60950-1:2005 (Second Edition) + Am 1:2009 + Am 2:2013
• FCC-SDOC: 47 CFR Part 15, Subpart B
• C-TICK(EMC): AS/NZS CISPR 32:2015
• UL: UL 60950-1 & CAN/CSA C22.2 No. 60950-1-07, Information Technology Equipment – Safety – Part 1: основные требования
• ROHS: 2011/65/EU
• REACH: Regulation (EC) No 1907/2006
• WEEE: 2012/19/EU
Бренд | HiWatch |
Вид оборудования | Вызывная панель |
Тип домофонии | IP-домофония |
Исполнение | Уличное, Антивандальное |
Тип вызывной панели | Одноабонентная |
Метод идентификации | Бесконтактная карта, Кнопка вызова |
Наличие камеры | Да, цветная |
Разрешение видео | до 2 Мп |
Кнопки быстрого набора | 1 кнопка вызова |
Открытие замка | С монитора, По RFID карте, Со смартфона |
Тип монтажа | Врезной |
Клавиатура | Нет |
Напряжение питания | 12 В / PoE |
Источник питания | В комплект НЕ ВХОДИТ! (приобретается отдельно) |
Потребляемая мощность, макс. | 10 Вт |
Операционная система | Linux |
Габариты | 174х91х29 мм |
Рабочая температура | от -40°C до +50°C |
Рабочая влажность | 10% - 95% без конденсации |
Гарантия | 2 года |
Страна производства | Китай |
Функция «Быстрый заказ» позволяет покупателю не проходить всю процедуру оформления заказа самостоятельно. Вы заполняете форму, и через короткое время вам перезвонит менеджер магазина. Он уточнит все условия заказа, ответит на вопросы, касающиеся качества товара, его особенностей. А также подскажет о вариантах оплаты и доставки.
По результатам звонка, пользователь либо, получив уточнения, самостоятельно оформляет заказ, укомплектовав его необходимыми позициями, либо соглашается на оформление в том виде, в котором есть сейчас. Получает подтверждение на почту или на мобильный телефон и ждёт доставки.
Оформление заказа в стандартном режиме
Если вы уверены в выборе, то можете самостоятельно оформить заказ, заполнив по этапам всю форму.
Заполнение адреса
Выберите из списка название вашего региона и населённого пункта. Если вы не нашли свой населённый пункт в списке, выберите значение «Другое местоположение» и впишите название своего населённого пункта в графу «Город». Введите правильный индекс.
Доставка
В зависимости от места жительства вам предложат варианты доставки. Выберите любой удобный способ. Подробнее об условиях доставки читайте в разделе «Доставка».
Оплата
Выберите оптимальный способ оплаты. Подробнее о всех вариантах читайте в разделе «Оплата»
Покупатель
Введите данные о себе: ФИО, адрес доставки, номер телефона. В поле «Комментарии к заказу» введите сведения, которые могут пригодиться курьеру, например: подъезды в доме считаются справа налево.
Оформление заказа
Проверьте правильность ввода информации: позиции заказа, выбор местоположения, данные о покупателе. Нажмите кнопку «Оформить заказ».
Наш сервис запоминает данные о пользователе, информацию о заказе и в следующий раз предложит вам повторить к вводу данные предыдущего заказа. Если условия вам не подходят, выбирайте другие варианты.
Если Вы хотите узнать об условиях доставки и оплаты, но не желаете о них читать, то Вы можете позвонить любому нашему сотруднику, и он обязательно Вам поможет.
Покупка за безналичный расчет
При оплате за безналичный расчет наш сотрудник свяжется с Вами, чтобы подтвердить заказ и уточнить сроки и адрес доставки. После оформления заказа сотрудник нашей компании вышлет вам счет, по которому необходимо будет произвести оплату.
После оплаты заказа к Вам приедет наш курьер, который доставит ваш заказ.
Самостоятельно забрать заказ из пунктов самовывоза Вы можете после его оплаты по безналичному расчету. Оплата доставки до пунктов выдачи транспортных компаний производится по тарифам выбранной Вами транспортной компании непосредственно в месте получения заказа.
Самовывоз из офиса нашей компании в Зеленограде, так же возможен после предоплаты по безналичному расчету, и предварительной договоренности с менеджером.
Интернет-магазин выполняет доставку любого товара своей собственной Службой доставки.
Стоимость доставки курьером
Стоимость доставки по Москве, Все товары —750 руб., бесплатная доставка от 25000 руб
Стоимость доставки по Московской области рассчитывается для каждого заказа индивидуально и зависит от суммарного веса товаров заказа и удаленности адреса доставки.
Время доставки
Время доставки согласовывается с менеджером Службы доставки, который обязательно свяжется с вами сразу после того, как вы разместите свой заказ.
Для осуществления доставки в регионы России мы пользуемся услугами компаний СДЭК, ЖелДорЭкспедиция, Автотрейдинг, Деловые Линии. В таком случае, указанными кампаниями взимается стоимость доставки по их внутренним тарифам с заказчика при получении товара.
Самовывоз
Забрать товар самостоятельно и абсолютно бесплатно можно только по адресу: Москва, Зеленоград, Панфиловский проспект, дом 10.
Забрать товар самовывозом можно по любому из адресов самовывоза указанных здесь, стоимость доставки до пункта самовывоза рассчитывается для каждого заказа по тарифам транспортных компаний.









