Калитка может поставляться со стандартной створкой 650 мм или с удлиненной створкой 900 мм. Удлиненная створка позволяет организовать проезд инвалидных колясок и, в случае экстренных ситуаций, дополнительный эвакуационный выход.
Для предотвращения случайного наталкивания людей на створку калитки на прозрачное стекло по верхнему краю нанесена матовая полоса.
При отключении питания калитка WMD-06 автоматически разблокируется, створку для прохода можно открыть рукой.
Калитки могут устанавливаться попарно створками друг к другу, для организации доступа по типу автоматических ворот.
Автоматическая калитка электромеханическая автоматическая нормально открытая PERCo-WMD-06 предназначена для управления потоками людей на проходных административных учреждений, в банках, магазинах, вокзалах, аэропортах и т.п. Как модель элитного класса рекомендуется к использованию на объектах с повышенными требованиями к дизайну и комфорту. Может устанавливаться совместно с другими турникетами и ограждениями производства PERCo, или как отдельное устройство.
Количество калиток, необходимое для обеспечения быстрого и удобного прохода людей, рекомендуется определять исходя из расчета пропускной способности изделия. Например, рекомендуется устанавливать по одной калитке на каждые 500 человек, проходящих через калитку в один день, или из расчета пиковой нагрузки 12 человек в минуту.
Комплект поставки
• Калитка со встроенной электроникой управления: 1 шт.
• Створка стеклянная: 1 шт.
• Пульт дистанционного управления: 1 шт.
• Ключ шестигранный SW1,5: 1 шт.
• Комплект крепежа калитки:
- анкер PFG SB 10-20 («SORMAT», Финляндия) с шайбой и гайкой М10: 3 шт.
• Комплект крепежа створки:
- болт М10×35 А2: 4 шт.
- гайка M10 A2: 4 шт.
- шайба пружинная: 4 шт.
- шайба плоская увеличенная: 8 шт.
- втулка пластиковая: 4 шт.
• Руководство по эксплуатации: 1 экз.
Не входят в комплект поставки:
• источник питания
• устройство РУ
Калитка по устойчивости к воздействию климатических факторов внешней среды соответствует категории О4 по ГОСТ 15150-69 (для эксплуатации в помещениях с искусственно регулируемыми климатическими условиями). Эксплуатация калитки разрешается при температуре окружающего воздуха от +1°С до +50°С и относительной влажности воздуха до 70% при +27°С.
Видеообзор автоматической калитки PERCo WMD-06
Основные особенности
• Калитка может работать как автономно, от ПДУ или устройства РУ, так и под управлением СКУД.
• Калитка может работать в импульсном или в потенциальном режиме управления.
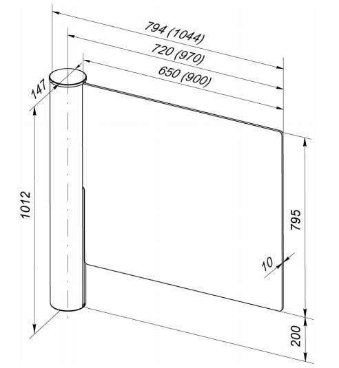
• В калитке предусмотрена возможность установки створок различной длины: 650 мм или 900 мм. Габаритные размеры калитки приведены на рис. 1.
• Внешние детали калитки (кроме створки) выполнены из шлифованной нержавеющей стали. Створка выполнена из закаленного стекла толщиной 10 мм.
• Калитка является нормально открытым устройством, то есть при отключении источника питания створка калитки свободно поворачивается на угол ±90º.
• На калитку подается безопасное для человека напряжение питания – не более 28 В.
• Калитка имеет низкое энергопотребление – не более 105 Вт.
Характеристики:
• Напряжение питания постоянного тока, В: 24±2,4
• Ток потребления, А: не более 4,4
• Потребляемая мощность, Вт: не более 105
• Пропускная способность в режиме однократного прохода, проходов/мин: 12
• Количество режимов прохода: 3
• Ширина зоны прохода, мм:
- со створкой PERCo-AGG-650: 700
- со створкой PERCo-AGG-900: 950
• Длина кабеля пульта дистанционного управления1 , м: не менее 6,6
• Степень защиты: IP41 по EN 60529
• Класс защиты от поражения электрическим током: III по ГОСТ Р МЭК335-1-94
• Средняя наработка на отказ, проходов: не менее 500000
• Средний срок службы, лет: не менее 8
• Габаритные размеры калитки (длина × ширина × высота), мм:
- со створкой PERCo-AGG-650: 795×147×1012
- со створкой PERCo-AGG-900: 1045×147×1012
• Масса (нетто), кг:
- стойки калитки без створки: 23
- со створкой PERCo-AGG-650: не более 37
- со створкой PERCo-AGG-900: не более 41

Устройство калитки
Калитка состоит из неподвижного основания (1), поворотной опоры (7), на которой закреплена стеклянная створка (4), корпус (2) и крышка (3). Кольцо металлическое (5) и кольцо пластиковое (12) обеспечивают опору корпуса (2) и его вращение вокруг неподвижного основания (1). Декоративная пластина (15) крепится винтом (16).
Стойка калитки устанавливается на шпильки анкеров (9) и закрепляется гайками (10) и шайбами (11) .
Внутри стойки калитки расположены узлы, обеспечивающие ее функционирование: электропривод вращения с датчиком угла поворота, электромагнитный стопорный узел, подшипниковые узлы, плата управления приводом (6).
В состав калитки входит ПДУ (17).
На калитку подается напряжение питания постоянного тока +24 В через кабель (13).

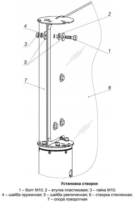
1 – неподвижное основание; 2 – корпус; 3 – крышка; 4 – стеклянная створка; 5 – металлическое кольцо; 6 – плата управления; 7 – поворотная опора; 8 – винт М3 (3 шт); 9 – анкер; 10 – гайка М10; 11 – шайба; 12 – пластиковое кольцо; 13 – кабель питания; 14 – кабель управления (от ПДУ / устройства РУ / контроллера СКУД ); 15 – планка декоративная; 16 – винт М4; 17 – ПДУ
Устройство ПДУ
ПДУ (17) выполнен в виде небольшого настольного прибора в корпусе из ударопрочного АБС пластика и предназначен для задания и индикации режимов работы при ручном управлении калиткой. ПДУ подключается к плате управления калитки (6) гибким многожильным кабелем (14), входящим в состав ПДУ.
На лицевой панели корпуса ПДУ расположены три кнопки для задания режимов работы калитки. Средняя кнопка STOP предназначена для блокировки створки калитки в закрытом положении. С помощью левой LEFT и правой RIGHT кнопок можно открыть створку калитки в соответствующую сторону для однократного прохода. Также может быть установлен режим свободного прохода. Над кнопками расположены световые индикаторы. В корпусе ПДУ установлен зуммер для звуковой индикации.

Управление калиткой может осуществляться с помощью ПДУ, устройства РУ или контроллера СКУД. Для аварийного открытия зоны прохода используется устройство, подающее команду аварийной разблокировки Fire Alarm.
Примечание: Устройства управления (ПДУ, устройство РУ, контроллер СКУД) могут быть подключены к калитке по отдельности или же параллельно в любой комбинации друг с другом.
При параллельном подключении возможны случаи наложения поступающих от устройств управления сигналов. В этом случае реакция калитки будет соответствовать реакции на образовавшуюся комбинацию входных сигналов.
Устройства управления калиткой подключаются ко входам управления Unlock A, Stop и Unlock B. Управление осуществляется подачей на контакты Unlock A, Stop и Unlock B клеммной колодки XT2 сигнала низкого уровня относительно контакта GND. Алгоритм подачи управляющих сигналов приведены в приложениях 1 и 2. При этом управляющим элементом могут быть нормально разомкнутый контакт реле или схема с открытым коллекторным выходом.
Нештатные ситуации в работе калитки
В случае возникновения препятствия свободному повороту калитки предусмотрен автоматический переход калитки в режим перегрузки. Режим необходим для предотвращения выхода из строя электромеханических частей вследствие перегрева.
При возникновении препятствия повороту створки в заданном направлении осуществляются три попытки поворота в том же направлении с интервалом в 3 секунды. Если после этого препятствие не будет устранено, то калитка перейдет в режим перегрузки. В режиме перегрузки створка калитки может свободно поворачиваться на угол ±90º, что позволяет беспрепятственно устранить возникшее препятствие в зоне прохода. При этом на ПДУ мигают все три световых индикатора, и каждые 20 секунд осуществляется звуковая индикация серией из трех коротких звуковых сигналов.
Выход из режима перегрузки осуществляется переводом створки калитки в положение «Закрыто» вручную или выключением и повторным включением питания калитки (в этом случае калитка автоматически придет в исходное положение).
Монтаж калитки
Монтаж калитки является ответственной операцией, от которой в значительной степени зависит работоспособность и срок службы изделия. До начала монтажных работ рекомендуется внимательно изучить руководство пользователя и в дальнейшем следовать изложенным в нем инструкциям.
Рекомендации по подготовке установочной поверхности:
• Калитку необходимо устанавливать на прочные и ровные бетонные (не ниже марки 400, группа прочности В22,5), каменные и т.п. основания, имеющие толщину не менее 150 мм.
• Установочную поверхность необходимо выровнять так, чтобы все точки крепления калитки лежали в одной горизонтальной плоскости (контролировать с помощью уровня);
• При установке калитки на менее прочное основание необходимо применять закладные фундаментные элементы размером не менее 450×450×200мм.
Порядок монтажа
Внимание! Предприятие-изготовитель не несет ответственности за повреждения калитки и другого оборудования, а также иной ущерб, нанесенный в результате неправильного монтажа, и отклоняет любые претензии потребителя, если монтаж выполнен с нарушением указаний, приведенных в данном руководстве.
При монтаже калитки придерживайтесь следующей последовательности действий:
1. Распакуйте калитку и проверьте комплектность.
Внимание! При перемещении запрещено удерживание калитки за крышку (3).
2. Произведите разметку и разделку отверстий в полу под гильзы анкеров (9) для крепления стойки калитки. При необходимости используйте разметочный шаблон из комплекта поставки. Для разделки отверстий используйте сверло твердосплавное Ø16. Глубина сверления 60 мм.

3. Произведите монтаж источник питания калитки на отведенное для него место в соответствии с инструкцией, приведенной в эксплуатационной документации на этот источник питания.
4. При необходимости прокладки кабелей питания (13) и управления (14) под поверхностью пола подготовьте в полу кабельный канал, подходящий к зоне для ввода кабелей в стойку калитки.
5. Установите анкеры в выполненные в полу отверстия так, чтобы гильзы анкеров не выступали над поверхностью пола.
6. Отверните винты (8) и снимите крышку (3) стойки калитки.
7. Двигая вдоль оси стойки вверх, осторожно снимите корпус (2) и металлическое кольцо (5) стойки калитки.
8. Подведите по кабельному каналу кабели питания и управления к зоне ввода кабелей. Протяните кабели в неподвижное основание стойки (1) на длину, достаточную для последующего монтажа на плате управления (6).
Внимание! Установку и крепление стойки калитки производите после прокладки всех кабелей в кабельном канале и внутри стойки. При этом до закрепления стойки будьте особенно внимательны и аккуратны, предохраняйте ее от падения.
9. Установите стойку калитки на шпильки анкеров (9). Используя уровень, добейтесь вертикального положения стойки. При этом допускается использование монтажных прокладок. Отклонение стойки от вертикали не должно превышать 0,5º в двух плоскостях.
10. Наденьте на каждую шпильку анкера шайбу (11) и закрепите стойку калитки с помощью трех гаек М10 (10).
11. Подключите кабели питания и управления к клеммным колодкам XT1 и XT2 платы управления (6).
12. При необходимости подключите устройство аварийного открытия прохода Fire Alarm. Если устройство не подключено, то на контакты FIRE ALARM и GND клеммной колодки ХТ2 должна быть установлена перемычка проводом.
13. При необходимости к клеммным колодкам XT1.2 и XT1.3 подключите выносные индикаторы.
14. При необходимости измените положение перемычек на плате управления.
15. Произведите монтаж стеклянной створки. Для этого закрепите створку (6) на опоре поворотной (7) с помощью деталей (1) – (5). Внимание! При монтаже створки соблюдайте осторожность, не допускайте ее падения и ударов о металлические элементы стойки. По причине значительного веса створки при ее демонтаже рекомендуется подставить опору под нижний торец створки.

16. Установите кольцо металлическое, корпус и крышку на стойку калитки в порядке, обратном снятию.
После завершения монтажа произведите включение и проверку работоспособности калитки.
Эксплуатация калитки
При эксплуатации калитки соблюдайте меры безопасности.
Запрещается!
• Перемещать через зону прохода калитки предметы, превышающие ширину проема прохода.
• Производить рывки и удары по составным частям калитки.
• Разбирать и регулировать узлы, обеспечивающие работу калитки.
• Использовать при чистке калитки вещества, способные вызвать механические повреждения поверхностей и коррозию деталей.
Включение калитки
Внимание! Перед включением калитки убедитесь, что в зоне прохода и вращения створки калитки не находится никаких посторонних предметов или людей. При включении калитки придерживайтесь следующей последовательности действий:
1. Подключите сетевой кабель источника питания калитки к розетке сети с напряжением и частотой, указанными в паспорте на этот источник питания.
2. Включите источник питания калитки.
3. Калитка в автоматическом режиме совершит поиск положения «Закрыто».
4. Калитка при установленном импульсном режиме управления перейдет в режим «Запрет прохода», при потенциальном режиме управления – в режим «Оба направления закрыты». На ПДУ загорится красный индикатор, расположенный над кнопкой STOP.
Калитка готова к работе.
Импульсный режим управления
Импульсный режим используется для управления калиткой с помощью ПДУ, устройства РУ и контроллеров СКУД, выходы которых поддерживают этот режим.
Задание режимов прохода осуществляется подачей сигнала низкого уровня или замыканием контактов Unlock A, Stop, Unlock B с контактом GND клеммной колодки XT2. При этом длительность сигнала управления должна быть не менее 100 мс.
Время нахождения створки калитки в открытом положении в режиме «Однократный проход в заданном направлении» составляет 4 секунды. Отсчет времени начинается при повороте створки на угол 85 град. По истечении этого времени створка возвращается в положение «Закрыто» и блокируется, калитка переходит в режим «Запрет прохода»
Примечание: При работе в составе системы PERCo-S-20 время нахождения створки калитки в открытом положении в режиме «Однократный проход в заданном направлении» определяется параметром Время удержания в разблокированном состоянии.
Режим «Однократный проход в заданном направлении» может быть изменен на режим «Свободный проход» в этом же направлении или режим «Запрет прохода»; режим «Свободный проход» может быть изменен только на режим «Запрет прохода».
Потенциальный режим управления
Потенциальный режим используется для управления калиткой контроллерами СКУД, выходы которых поддерживающими этот режим.
Задание режимов работы осуществляется удержанием на контактах Unlock A, Stop и Unlock B сигнала низкого уровня относительно контакта GND клеммной колодки XT2.
Время ожидания прохода для режима «Направление открыто» определяется длительностью удержания управляющего сигнала на контакте, соответствующем направлению поворота створки.
Действия в экстремальных ситуациях
Для экстренной эвакуации людей с территории предприятия в случае пожара, стихийных бедствий и других аварийных ситуаций необходимо предусмотреть аварийный выход. Таким выходом может служить, например, поворотная секция ограждения «Антипаника» PERCo-BH02.
Дополнительным аварийным выходом может служить зона прохода калитки. Конструкция калитки позволяет быстро организовать свободный проход без применения специальных ключей или инструментов. Для этого необходимо подать управляющий сигнал Fire Alarm на плату управления калитки. Створка калитки, перекрывающая зону прохода, автоматически повернется в сторону, освобождая зону прохода, вне зависимости от установленного режима работы калитки. Другие команды управления калиткой при этом игнорируются. Направление поворота стойки определяется с помощью перемычки Fire Alarm Dir на плате управления. При снятии сигнала створка перейдет в положение «Закрыто» и будет заблокирована.
Устройство, подающее команду аварийной разблокировки прохода Fire Alarm, не входит в стандартный комплект поставки.
Кроме этого калитка является нормально открытым устройством, то есть при отключении источника питания створка калитки может свободно поворачиваться на угол ±90º, освобождая зону прохода.
Бренд | PERCo |
Вид калитки | Полуростовая |
Исполнение | Для помещений |
Тип калитки | Автоматическая |
Направление поворота | В обе стороны |
Пропускная способность | 12 чел/мин |
Пульт управления | 1 шт. в комплекте |
Материал | Нержавеющая сталь |
Напряжение питания | 24 В |
Потребляемая мощность, макс. | 105 Вт |
Потребляемый ток, макс. | 4 A |
Габариты | 795×147×1007 мм |
Ширина прохода | 700 мм |
Вес, кг | 37 |
Материал вставки (створки) | Стекло |
Рабочая температура | от +1°C до +55°C |
Средний срок службы | Не менее 8 лет |
Сертификаты | Транспортной безопасности |
Гарантия | 5 лет |
Страна производства | Россия |
Функция «Быстрый заказ» позволяет покупателю не проходить всю процедуру оформления заказа самостоятельно. Вы заполняете форму, и через короткое время вам перезвонит менеджер магазина. Он уточнит все условия заказа, ответит на вопросы, касающиеся качества товара, его особенностей. А также подскажет о вариантах оплаты и доставки.
По результатам звонка, пользователь либо, получив уточнения, самостоятельно оформляет заказ, укомплектовав его необходимыми позициями, либо соглашается на оформление в том виде, в котором есть сейчас. Получает подтверждение на почту или на мобильный телефон и ждёт доставки.
Оформление заказа в стандартном режиме
Если вы уверены в выборе, то можете самостоятельно оформить заказ, заполнив по этапам всю форму.
Заполнение адреса
Выберите из списка название вашего региона и населённого пункта. Если вы не нашли свой населённый пункт в списке, выберите значение «Другое местоположение» и впишите название своего населённого пункта в графу «Город». Введите правильный индекс.
Доставка
В зависимости от места жительства вам предложат варианты доставки. Выберите любой удобный способ. Подробнее об условиях доставки читайте в разделе «Доставка».
Оплата
Выберите оптимальный способ оплаты. Подробнее о всех вариантах читайте в разделе «Оплата»
Покупатель
Введите данные о себе: ФИО, адрес доставки, номер телефона. В поле «Комментарии к заказу» введите сведения, которые могут пригодиться курьеру, например: подъезды в доме считаются справа налево.
Оформление заказа
Проверьте правильность ввода информации: позиции заказа, выбор местоположения, данные о покупателе. Нажмите кнопку «Оформить заказ».
Наш сервис запоминает данные о пользователе, информацию о заказе и в следующий раз предложит вам повторить к вводу данные предыдущего заказа. Если условия вам не подходят, выбирайте другие варианты.
Если Вы хотите узнать об условиях доставки и оплаты, но не желаете о них читать, то Вы можете позвонить любому нашему сотруднику, и он обязательно Вам поможет.
Покупка за безналичный расчет
При оплате за безналичный расчет наш сотрудник свяжется с Вами, чтобы подтвердить заказ и уточнить сроки и адрес доставки. После оформления заказа сотрудник нашей компании вышлет вам счет, по которому необходимо будет произвести оплату.
После оплаты заказа к Вам приедет наш курьер, который доставит ваш заказ.
Самостоятельно забрать заказ из пунктов самовывоза Вы можете после его оплаты по безналичному расчету. Оплата доставки до пунктов выдачи транспортных компаний производится по тарифам выбранной Вами транспортной компании непосредственно в месте получения заказа.
Самовывоз из офиса нашей компании в Зеленограде, так же возможен после предоплаты по безналичному расчету, и предварительной договоренности с менеджером.
Интернет-магазин выполняет доставку любого товара своей собственной Службой доставки.
Стоимость доставки курьером
Стоимость доставки по Москве, Все товары —750 руб., бесплатная доставка от 25000 руб
Стоимость доставки по Московской области рассчитывается для каждого заказа индивидуально и зависит от суммарного веса товаров заказа и удаленности адреса доставки.
Время доставки
Время доставки согласовывается с менеджером Службы доставки, который обязательно свяжется с вами сразу после того, как вы разместите свой заказ.
Для осуществления доставки в регионы России мы пользуемся услугами компаний СДЭК, ЖелДорЭкспедиция, Автотрейдинг, Деловые Линии. В таком случае, указанными кампаниями взимается стоимость доставки по их внутренним тарифам с заказчика при получении товара.
Самовывоз
Забрать товар самостоятельно и абсолютно бесплатно можно только по адресу: Москва, Зеленоград, Панфиловский проспект, дом 10.
Забрать товар самовывозом можно по любому из адресов самовывоза указанных здесь, стоимость доставки до пункта самовывоза рассчитывается для каждого заказа по тарифам транспортных компаний.







